Operating Instructions for
CLH Series Liquid Hydrogen Dewars
Introduction
The Cryofab CLH Series liquid hydrogen dewars are designed for minimum loss storage, transportation and dispensing of liquid hydrogen. The CLH dewar employs state-of-the-art vapor cooled multishield technology in conjunction with superinsulation to achieve the highest efficiencies. Most valves are of packless construction (bellows sealed) for the highest degree of safety and reliability. Maximum utilization of welded components in the plumbing insures superior leak free operation.
The CLH Series is ruggedly constructed and simple to use, however the extremely low temperature and flammability of liquid hydrogen require the use of techniques that differ from those used in handling the more common cryogenic fluids.
Precautions
General precautions regarding liquefied gases are covered in the pamphlet attached to the dewar, however the unique properties of liquid hydrogen require even further precautions to be taken. Liquid hydrogen (LH2) is a colorless, non-toxic liquid with a density of approximately .071 that of water. At atmospheric pressure it has a temperature of -423° F. Hydrogen gas (GH2), which is usually present in conjunction with liquid hydrogen, has a very low ignition temperature, an extremely low ignition energy and a flammability range of 4%-74% by volume in air.
Air liquefies and solidifies readily when exposed to the extremely low temperature of liquid hydrogen. For this reason and because hydrogen is extremely flammable, the fill and vent valves must be kept closed at all times when not in use to prevent exposure of hydrogen gas to the atmosphere or an oxygen enriched environment, and to prevent blockages from forming in any of the piping.
Moving and Handling
In spite of their robust construction it is still good practice not to subject CLH Series dewars to rough handling either full or empty. The CLH Series dewar is designed for use in the vertical position and should not be laid on its side. If the dewar must be lifted use a forklift or similar equipment beneath the base or hoist by means of the lifting lugs.
Measurement of Contents
Normal practice is to determine the amount of liquid hydrogen in a dewar by weighing and subtracting the tare weight. Scale accuracy should be plus or minus .25 pounds as a minimum.
Purging
To purge the dewar of residual air or other gases prior to filling proceed as follows:
- Check that all valves are closed except for the isolation valve (V-4).
- Connect a regulated helium purge gas supply to the pressurizing valve (V-1).
- Open the source valve and set the regulator to approximately 20 PSI.
- Remove the cover from the liquid bayonet connection (FB) and open the liquid valve (V-5).
- Open the pressurizing valve (V-1) on the dewar and allow helium gas to flow for about (5) minutes.
- Close the liquid valve (V-5) and allow the dewar to pressurize to 7 PSI at which time the relief valve (RV-1) should open. Let the relief valve (RV-1) flow for about (10) seconds and then close the pressurizing valve (V-1).
- Open the vent valve (V-2) and allow gas to flow out for about (10) seconds, then close the vent valve. Insert a plug into the exhaust line to discourage air from entering.
- Open the purge valve (V-3) on the bonnet of the vent valve (V-2) and allow gas to flow out for about (10) seconds, then close the purge valve.
- Close the source valve and disconnect the source from the pressurizing valve (V-1).
An alternate purging procedure would consist of evacuating the inner vessel and backfilling with GHe. Proceed as follows:
- Check that all valves are closed except for the isolation valve (V-4).
- Connect a suitable vacuum pump or vacuum system to the exhaust port of the dewar.
- Open the vent valve (V-2) to begin evacuation of the inner vessel and pump down to approximately 5 torr.
- Close the vent valve and disconnect the dewar from the vacuum system.
- Connect a regulated helium purge gas supply to the pressurizing valve (V-1).
- Open the source valve and set the regulator to approximately 20 PSI.
- Open the pressurizing valve (V-1) on the dewar to admit the GHe and allow the pressure to rise to 7 PSI at which time the relief valve (RV-1) should open. Let the relief valve (RV-1) flow for about (10) seconds and then close the pressurizing valve (V-1).
- Open the vent valve (V-2) and allow gas to flow out for about (10) seconds, then close the vent valve. Insert a plug in the exhaust line to discourage air from entering.
- Remove the cover from the liquid bayonet connection (FB) and open the liquid valve (V-5). Allow the dewar to depressurize to 5 PSI through the liquid valve (V-5) and then close it and replace the bayonet cover.
- Close the source valve and disconnect the source from the pressurizing valve.
The dewar is now prepared to receive liquid.
Filling
The purging procedure above must be completed before the dewar can be filled. The filling procedure is as follows:
- The preferred method is to position the dewar on a floor scale so the accumulation of liquid can be monitored during the filling process.
- Attach a grounding cable to marked location on the lifting lug.
- Remove the plug from the exhaust connector and connect a suitable stainless steel exhaust hose between the exhaust connection and a system that directs the hydrogen exhaust gas safely outside the work area.
- Connect an insulated fill hose fitted with a compatible vacuum jacketed male bayonet connector to the liquid connection (FB) on the dewar.
- The fill hose must be purged of air using helium gas prior to admitting hydrogen. Depending on the configuration of the liquid hydrogen supply interface this may be done before or after the fill hose is connected to the supply. The purge valve (V-3) on the bonnet of the dewar’s liquid valve (V-5) can be used for this purpose, either an inlet or outlet for the purge gas depending on what is convenient.
- After the fill hose has been purged, open the vent valve (V-2) on the dewar, open the supply valve and slowly open the liquid valve (V-5) on the dewar to begin the flow of LH2. Throttle the flow as the fill hose and inner vessel are cooled to operating temperature by the incoming liquid. This may take a few minutes. When the exhaust flow begins to drop from its peak levels the liquid valve (V-5) may be opened fully.
- When the vessel is full (based on the observed weight), shut off the hydrogen supply and the liquid valve on the dewar. Disconnect the fill hose from the bayonet connection (FB) and replace the cap.
- Leave the dewar attached to the exhaust system until it is ready to be moved. At that time close the vent valve (V-2) and disconnect the exhaust hose. Close the isolation valve (V-4) if it is desired to allow the dewar to build pressure by normal evaporation beyond 15 PSI, and to prevent premature venting of H2 gas. DO NOT insert the plug back into the exhaust connector.
Withdrawal
Transferring liquid hydrogen from the dewar is accomplished by using the following procedure.
- Attach a grounding cable to marked location on the lifting lug. Also, make sure that the receiving apparatus is properly grounded.
- Verify that the vent valve (V-2) and the isolation valve (V-4) are closed.
- Connect an insulated fill hose fitted with a compatible vacuum jacketed male bayonet connector to the liquid connection (FB) on the dewar.
- Make suitable arrangements to safely route the exhaust gas from the receiving apparatus according to the manufacture’s instructions and good practice.
- The withdrawal hose must be purged of air using helium gas prior to admitting hydrogen. Depending upon the configuration of the receiving apparatus and its interface this may be done before or after the withdrawal hose is connected to it. (Consult the manufacturer’s operating manual for instructions.) The purge valve (V-3) on the bonnet of the dewar’s liquid valve (V-5) can be used for this purpose, either as an inlet or outlet for the purge gas, depending on what is convenient.
- Connect a regulated helium purge gas supply to the purge valve (V-3) on the bonnet of the liquid valve (V-5). Set the regulator for approximately 5 PSI and open the purge valve (V-3). Purge the hose for about (30) seconds provided it is not more than 20 feet long, otherwise, a longer time may be required.
- After the withdrawal hose has been purged, shut off the GHe flow and switch the helium gas supply to the pressurizing valve (V-1).
- Open the GHe source valve and set the regulator to the desired pressure.
- Open the pressurizing valve (V-1) on the dewar and allow the pressure in the dewar to rise to the regulator setting.
- Slowly open the liquid valve (V-5) on the dewar (and the valve on the receiving apparatus if so equipped) to begin the transfer. Throttle the flow as the withdrawal hose and receiving apparatus are cooled to operating temperature by the incoming liquid. When the cool-down is complete adjust the flow to the desired rate.
- When the transfer is complete, close the liquid valve (v-5) on the dewar, disconnect the withdrawal hose and replace the cap on the female bayonet connection (FB).
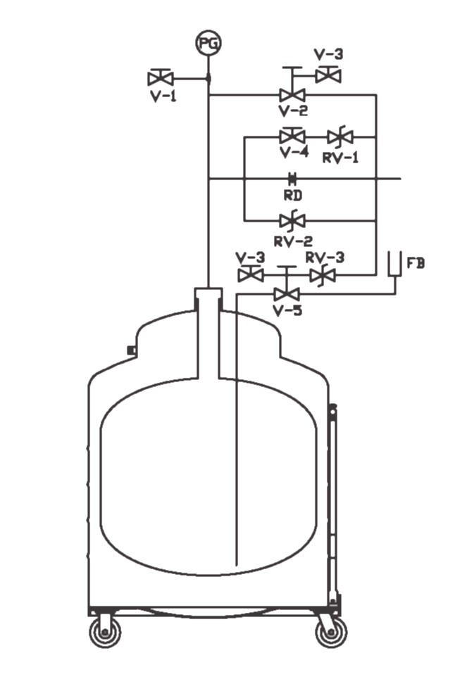
| Symbol | Description |
|---|---|
| V-1 | Pressurizing Valve |
| V-2 | Vent Valve |
| V-3 | Bennet Purge Port Valve |
| V-4 | Isolation Valve |
| V-5 | Manual Vacuum Jacketed Liquid Withdrawal Valve |
| PG | Pressure Gauge, 0—200 PSI |
| RV-1 | Pressure Relief Valve, 15 PSI |
| RV-2 | Pressure Relief Valve, 50 PSI |
| RV-3 | Pressure Relief Valve, 50 PSI |
| RD | Rupture Disc, 150 PSI |
| FB | Female Bayonet. 1/2″X6″ LINDE |



